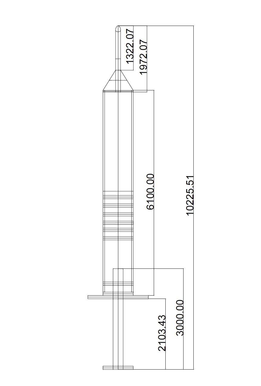
Installation mobile réalisée pour le Syndicat des agents correctionnels du Canada utilisé lors de la manifestation du 10 juin 2019.